?
本產品是電子元器件、精密儀器元器件的ESD(靜電放電)對策的更有效方式的靜電排除(中和)裝置。此外,在塑膠制品、印刷、噴漆涂裝、薄膜、膠片制品、醫(yī)藥、食品包裝等等各行各業(yè)作為靜電排除裝置被廣泛使用。
本產品使用壓電型高壓電源,重量輕、體積小、無電磁干擾、使用安全、配置有自動離子平衡系統(tǒng)和高壓異常監(jiān)視系統(tǒng)。
主要特征:
-適用于大范圍區(qū)域的靜電消除,消除靜電速度快。
-離子平衡良好,離子平衡0±10V以內。
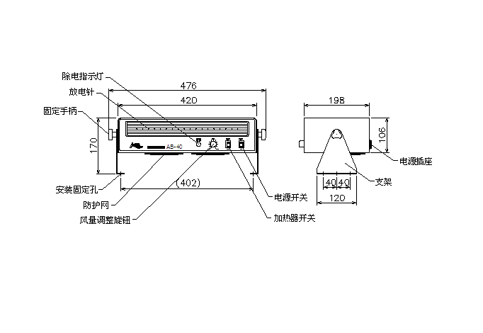
-使用交流型高壓電源,高壓放電針為無電擊安全設計,使用安全。
-可以內裝加熱器,具有暖風功能。
-可以調整吹風的角度和風量的大小。
-外殼鈑金雙面鍍鋅,靜電噴塑。
除電特性:


技術參數:

注:圖文數據均以廠家提供為準。